一、前言
某水泥厂对TH环链斗式提升机许多方面作了技术改造,取得了较好的效果,提高了经济效益。现介绍如下:
二、技术的具体部位及方法
1.传动装置机座改造
原来我厂使用的提升机传动装置部分机座不在同一整体上。传动链轮通过轴承座固定在提升机机壳上。电机、皮带轮、减速器则在楼板上另设基础,他们之间通过联轴器联接而成为一个整体。我们在使用过程中经常发现减速器响声不够正常,齿轮损坏严重。根据这一情况我们认真观察分析,确认这是由于热胀冷缩的原因而造成的。
我们发现夏天和冬天的胀量差有4-4.5mm。即△6=4-4.5mm。而如前述轴承座固定在壳体上,它必然随壳体的胀缩而升降,而电机、皮带轮、减速器机座却不受之影响。减速器的出轴就和上链轮轴不在同一水平线上,这势必要影响其正常的啮合。

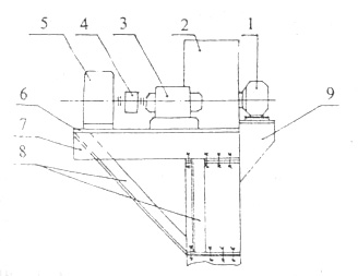
图1、改进后传动装置机座示意图
1一轴承2一机売3一电机4一皮带轮一减速器6一钢板7一槽钢8一角铁一轴承支承座
为了解决这一问题,我们曾据测量而得的胀缩量,考虑安装时无水泥温度影响等原因,将链轮轴稍调低,但效果不够理想,后来我们考虑提升机机壳的承受能力之后,把两机座合拼成一体,都把他们固定在机壳上。(见图1)具体做法是在壳体某一位置焊上两个槽钢,采用角铁支承,在槽钢上焊一钢板作为基础。这样由于他们都随着温度的变化而变化,而且变化量相同,保证了减速机出轴同链轮轴具有相同水平高度,始终处于同一直线。经改进后运行工况良好,彻底消除了前述不足。




