在输送机械设备中,斗式提升机是比较常用的,尤其在垂直输送领域,基本都是用斗式提升机,当然输送设备中还有其他很多机械设备,例如皮带输送机、螺旋输送机、刮板输送机、空气输送斜槽等。
物料输送现状
目前,水泥工业中的成品或半成品材料是水平运输的。主要使用斗式提升机配套空气输送斜槽。输风道设备简单,维护安全,成本低。 然而,风道也有很大的缺点,即透气层中使用的三层普通帆布耐磨性差(在我厂使用了三个月),并且耐高温(普通材料 长期以来,由于冷却器冷却效果差,窑内熟料温度高,进入磨机的物料温度往往达到100℃左右。因此,风道帆布经常被烧焦或结焦,每3个月更换一次,影响生产。 1989年,我厂试用PVFM五层帆布板代替普通三层帆布板应用于滑槽,其耐温性和耐磨性大大提高,寿命可延长至6个月(我厂试用),但价格太高(普通帆布板35元/m3,四块VFM五层帆布板190元m2),难以推广。
延长过滤帆布寿命的措施
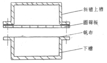
为寻求既耐温又耐磨、寿命周期较长且成本费用又低的斗式提升机配套空气斜槽透气材料,1990年,我们从加强透气材料的耐温、耐磨这两个主要目的入手,通过自己改造,使用了6=3mm钢板冲成的多孔板,即出磨圆筛板,压在普通帆布上面进行生产试验(见附图),效果很好,解决了多年来未解决的普通帆布怕高温、不耐磨的技术难题。其原理就是:圆筛板压在帆布上面,使物料在圆筛板上运动,这样圆筛板起到耐磨、隔热和透气的作用。普通帆布的寿命可由3个月提高到一年以上,输送物料量可由8万提高到20万t,且圆筛板焊在斜槽的上槽中重复使用,达到了既满足生产要求,又降低生产成本的目的。
实施前后效果
使用圆筛板前后过滤帆布情况对比见表。

过滤帆布使用情况对比

过滤帆布上压圆筛板
结论
过滤帆布上压圆筛板实践证明,过滤帆布上压圆筛板后,耐温耐磨性增强,使用寿命得到延长,对斗式提升机配套空气输送斜槽正常工作无大影响,同时保持了空气输送斜槽的一切优点,改进可行,值得推广




