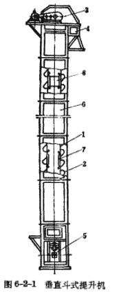
图62-1是目前铸造车间广泛采用的典型的垂直带式斗式提升机。其组成,主要有牽引胶带1、装载物料的料斗2、驱动装置3、带有驱动演筒的上部区段4、带有张紧装置的下部区段5、中间机売偏向板7和分料器8等几部分。
斗式提升机的牵引构件,除胶带式的外,还有环链式和板链式两种。由于带式牵引的较链式牵引的斗式提升机具有成本低、自重小、图6-2-1垂直斗式提升机速度高、维修简单、工作平稳且噪声小、具有一定的抗腐蚀性和抗磨琢性,故在铸造车间运用较为广泛。
胶带牽引的斗式提升机的缺点,主要是胶带强度较低,料斗在胶带上固定的较弱,所以,其提升高度,一般都不太大。另外,在使用过程中,胶带会伸长和老化,寿命较短。
链条牵引的斗式提升机与此相反,它允许有较大的提升高度,可达40米左右。而一般常用的胶带在这样的提升高度下,其强度是不够的。同时,它可以提升块度较大和温度较高的物料。
装载物料的料斗,多采用钢板焊制或钢板冲压。其钢板厚度,按料斗的大小和输送物料的性质不同,通常取为2~5毫米。对尺寸较大的料斗或输送有磨球性、腐蚀性及比重大的物料,应选较厚的钢板;反之,可采用较薄的钢板




