【申请号】201621232986.6【专利名称】提升机链条自动调节装置
【申请人】湖北富来地金润肥业有限公司
【地 址】433199 湖北省潜江经济开发区竹泽公路8号
【发明人】苏祖君,彭涛
【申请日期】2016.11.17
【专利类型】实用新型专利
【IPC号】B65G17/48
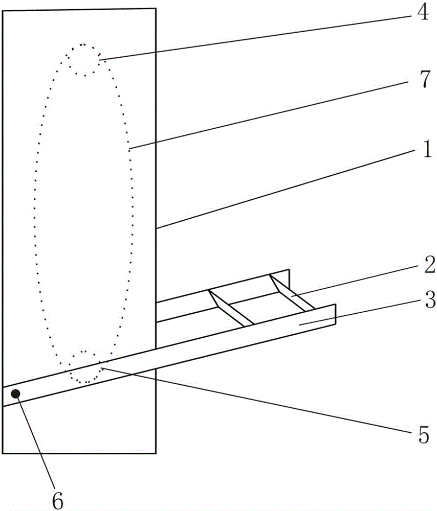
【摘 要】提升机链条自动调节装置,提升机连接压杆一端,压杆前端设调节架固定点,压杆连接下导轴,下导轴连接链条,链条上端连接上导轴,压杆另一端连接配重块;以调节架固定点为支点,压杆上的配重块起调节作用,提升机在运转过程中链条的紧固就由压杆上的调节固定点完成,通过压杆上面的配重块得力,有效压住下导轴,有效地控制链条在上导轴和下导轴上运转时打滑、跑偏;采用本技术的有益效果是:可主动调节纠偏提升机链条的工作状态,防止链条打滑、跑偏,提高工作效率。




