【申请号】201820162663.7【专利名称】一种用于板式提升机链条、料斗的快速更换装置
【地 址】335500 江西省上饶市万年县城东郊江西水泥厂生产区内
【发明人】刘恒,万方,蔡自鸿,曹京东,李日锦
【申请日期】2018.01.31
【专利类型】实用新型专利
【IPC号】B65G17/42;|B65G17/36;|B65G23/06
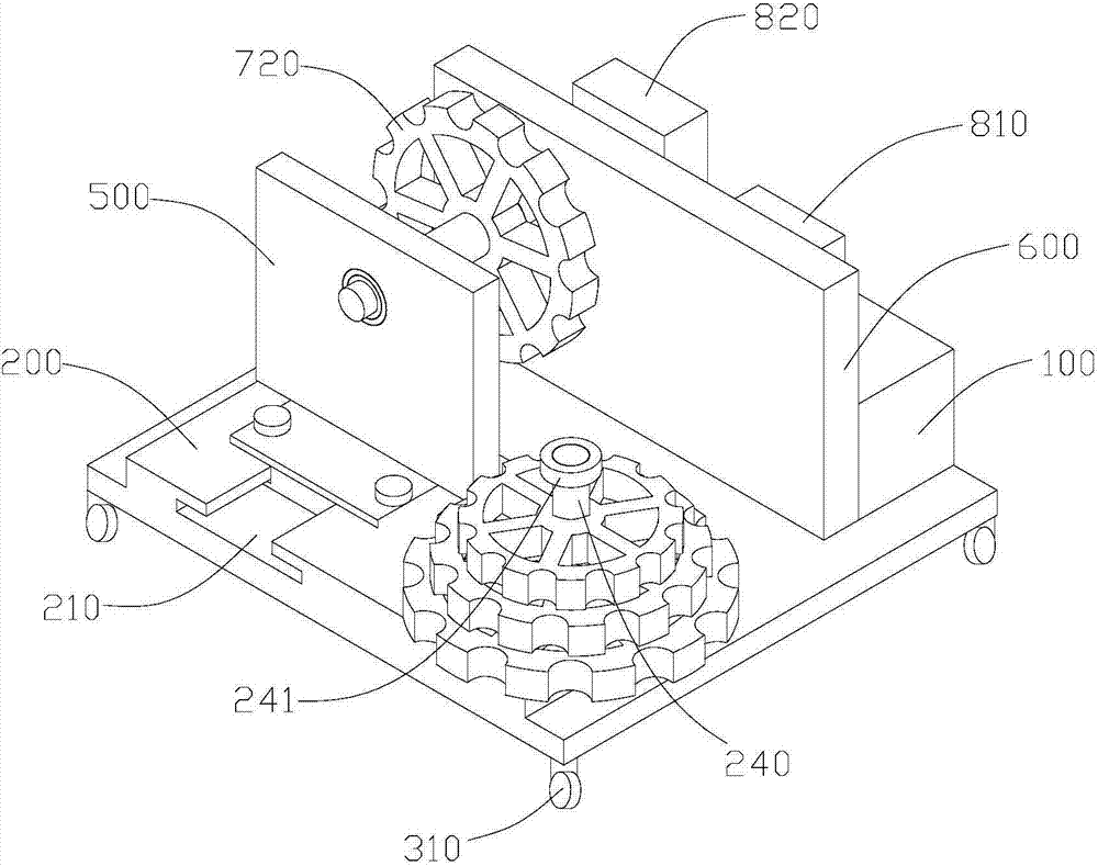
【摘 要】本实用新型提供了一种用于板式提升机链条、料斗的快速更换装置,包括底板及设于底板顶壁的第一支撑块、第二支撑块,第二支撑块顶壁开设有导向槽,导向槽内滑设有滑块,滑块的顶部固定设有滑板,滑板顶部设有第二架板,第二架板上嵌设有第二轴承,第二轴承内穿设有套管;第一支撑块的一侧设有第一架板,第一架板上嵌设有第一轴承,第一轴承上穿设有传动杆,传动杆的直径与套管的直径相等;第一支撑块上设有电机及变速箱,电机的输出轴与变速箱的输入轴连接,变速箱的输出轴与传动杆连接,传动杆上套设有可拆卸的链轮;其实现了提升机链条、料斗的快速更换,省略大量辅助设施,节约人工及检修时间改善了施工作业环境大幅度地提高了施工安全性。




