-
螺旋输送机布置形式
螺旋输送机和斗式提升机都是常用的输送设备,也经常在一些生产线中配套使用。螺旋输送机布置形式一般输送方向为水平或小角度,斗式提升机则一般为垂直或大倾角。...
2019-08-08 09:59:54 -
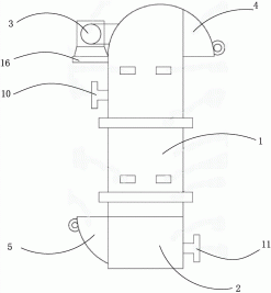
一种智能斗式提升机专利介绍
本发明公开了一种智能斗提机,包括有机架、底座以及电动机,机架的内部设置有主动轮、从动轮以及皮带,主动轮位于机架的顶部【申请号】201811256077.X...
2019-08-05 14:42:11
- 联系我们更多
-
- 河南浩明机械设备有限公司
- 联系人:宋经理
- 手机:15837399557
- 邮箱:15837399557@163.com
- 地址:河南省新乡市新东大道166号









